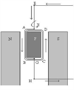
CollectionsInventaire des objets sauvegardésInstruments didactiques des Ecoles normales d’Institu.teurs.trices Instruments didactiques des Ecoles normales d’Institu.teurs.trices En savoir plus Livret en .pdf « Collections des Ecoles Normales Primaires d’Institutrices et d’Instituteurs de la Haute-Vienne » Enseignement de l'électricité Bobines de Ruhmkorff Schéma de la bobine de Ruhmkorff Fiche descriptive Expérience d'induction Galvanomètre d'Arsonval Fiche descriptive Roue de Barlow Dynamo Electromètre Bouteille de Leyde Alternateur et Electroscope Alternateur à manivelle Électroscope de Volta Autres instruments utilisés pour l'enseignement Chambre photographique Fiche descriptive Balance de précision Machine d’Atwood étude de la vitesse de la chute des corps Fiche descriptive Petite machine à écrire portable de fabrication française, pour les soldats en 1914 Enseignement de l’optique Spectromètre